Shenzhen Tuozhu Technology Co., Ltd., la società madre del noto produttore cinese di stampanti 3D Bambu Lab, ha ottenuto un nuovo brevetto che potrebbe rivelarsi importante nella crescente competizione legale con Stratasys. Pubblicato il 8 maggio 2025 sotto il Patent Cooperation Treaty (PCT) e registrato come WO2025/092408 presso l’Organizzazione Mondiale della Proprietà Intellettuale (WIPO), il brevetto descrive un sistema heatbed innovativo destinato a migliorare prestazioni, sicurezza ed efficienza delle stampanti 3D.
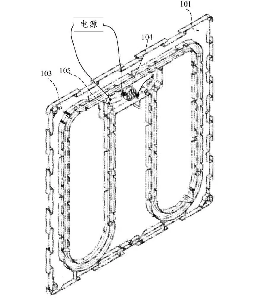
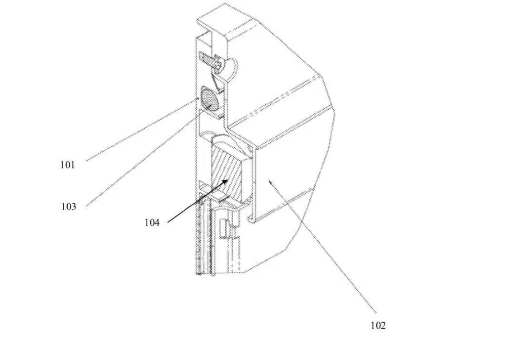
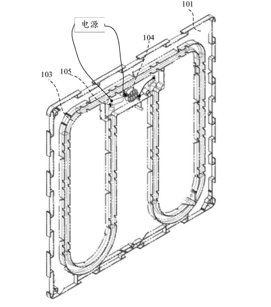
Al centro dell’invenzione vi è una struttura a strati composta da corpo principale, unità riscaldante e guscio inferiore, completata da uno strato isolante per ridurre la dispersione termica. Una delle caratteristiche distintive è il canale concavo – denominato “first receiving groove” – che ospita l’elemento riscaldante, fissabile mediante pressofusione o viti, migliorando la distribuzione uniforme del calore e l’adesione del materiale durante la stampa.
A differenza delle soluzioni tradizionali basate su substrati in alluminio e rame, il nuovo design utilizza fili resistivi o heat pipe, riducendo costi di produzione e problemi di espansione termica disomogenea, con impatti positivi su qualità e ripetibilità delle stampe.
Il brevetto introduce inoltre un sofisticato sistema di livellamento attivo, capace di monitorare e correggere automaticamente l’inclinazione del piano di stampa, aspetto essenziale per la precisione di stampa su larga scala. Sul fronte della sicurezza, sensori termici e interruttori di sicurezza intervengono in caso di surriscaldamento, prevenendo danni a stampante e oggetti stampati.
Particolarmente rilevante è il nuovo sistema magnetico segmentato: due anelli concentrici di magneti a diversa intensità posizionati sotto la superficie del piano di stampa migliorano l’adesione perimetralmente – dove più frequente è la deformazione dei pezzi – riducendo contemporaneamente i costi grazie a un uso più efficiente dei materiali magnetici ad alta forza.
Questa innovazione arriva in un momento strategico: Bambu Lab è attualmente coinvolta in un contenzioso con il colosso statunitense Stratasys, che la accusa di violazione su dieci brevetti, tra cui il noto US 9,592,660, relativo a piattaforme riscaldanti sviluppate da Arevo, società acquisita da Stratasys nel 2024. Tuttavia, il design brevettato da Bambu Lab, con le sue profonde differenze strutturali e funzionali, potrebbe rafforzare la posizione difensiva del gruppo cinese, mostrando una soluzione tecnologica proprietaria e differenziata.
Il panorama della stampa 3D continua così a evolversi rapidamente. Mentre Bambu Lab avanza con il suo nuovo brevetto, il settore assiste anche a importanti innovazioni come il recente brevetto di Nike per la stampa 3D di calzature personalizzate o il sistema nanotecnologico sviluppato da Molecular Rebar Design per potenziare le resine fotopolimeriche.
L’innovazione brevettuale resta dunque uno degli assi portanti della corsa tecnologica nell’additive manufacturing, dove proprietà intellettuale e ingegno tecnico sono sempre più strumenti strategici sia in laboratorio che nelle aule di tribunale.



